连接输出

本系列电源提供三通道输出,三个通道输出端子连线方式完全相同,请参考如下内容连接输出端子。



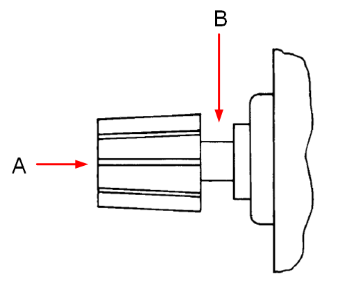
方法1:将导线与输出端子的A端连接。

方法2:逆时针旋转输出端子外层螺母,将导线与输出端子的B端连接,顺时针拧紧输出端子的外层螺母固定导线。该方法可避免由输出端子自身电阻引入的误差。

提示:

DP932U 输出端子为安全端子,不支持“方法2”的连接方式。

警告:

将导线连接至前面板之前,先关闭交流电源,所有导线和接线片必须正确连接,以防电流损坏负载。